广晟服务热线:13573670168
0536-6808888
Banner

医疗污水处理一体化设备

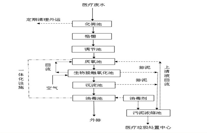
一、医疗污水处理一体化设备工艺选择:

  根据《医疗机构水污染物排放标准》GB18466-2005中所规定的排放标准执行,采用生物接触氧化处理工艺,生物处理装置要求技术可行,运行费用低廉,经济合理,设备可靠先进,工艺技术具有一定的耐冲击负荷和操作灵活性。整体布局应简洁,合理、美观、实用、减少动力消耗等。

医院污水.jpg

二、医疗污水处理一体化设备采用工艺:

(1)预处理:废水的预处理是整个系统能否有效运行的关键。废水中含有大量易腐化的有机物,必须在进入处理系统前加以拦截,以防止悬浮固体有机质腐化成为溶解性有机质,导致废水CODCr、BOD5浓度升高。常用的预处理方法很多,主要包括:调节、隔油、等。考虑到本工程的水量及水质特点,预处理工艺采用格栅、综合调节相结合的工艺。

(2)水解酸化工艺在高浓度有机废水的处理中是应用较多的形式,是通过控制水力停留时间及水中溶解氧的浓度,将生物的厌氧过程控制在水解及酸化阶段,不要求进入产乙酸和产甲烷阶段,从而缩短了反应的进程和时间。其主要的优势在于能够去除较多的有机物、降解分子量大和碳链较长的物质、提高进水的可生化性,同时由于其不进入产甲烷阶段,对环境条件的要求较低,能够抵抗一定的水质和水量的冲击负荷,同时水解酸化反应在厌氧和缺氧条件下都能够发生,对反应池的结构形式要求较低。水解酸化是将厌氧过程控制在水解和酸化阶段即可,因此水解酸化反应池的停留时间短,反应池内的优势菌群为水解酸化菌,少数为乙酸菌和产甲烷菌。另外,水解酸化工艺不进入产甲烷阶段,产生的少量气体可直接排入大气中,不会对人体和周围环境产生较大的影响。

QQ图片20170526102532_副本.jpg

(3)生化处理:接触氧化法是一种好氧生物膜法工艺,微生物以生物膜形式及悬浮态生长于水中,因此它兼具活性污泥及生物滤池二者的特点。池内设置立体弹性填料和曝气管路系统,并于曝气管路系统上安装微孔曝气器。弹性填料由拉毛的PP材质的丝条和绞绳制成,呈圆形毛刷状,比表面积大,能附着大量的微生物膜。该填料挂膜快,脱膜容易,运行时丝条对空气泡能起到极好的切割作用,使大气泡切割成小气泡,可增加气液接触面积,促进氧的传递,从而提高处理效果。该工艺负荷高、停留时间短、挂膜快、运行稳定,比较适合小规模企业中小型污水处理站的建设,倍受环保公司及用户青睐。

(4)消毒:医院污水中含有大肠杆菌超标,因此在污水排放前必须加以消毒,有效的杀菌工艺是二氧化氯消毒,二氧化氯发生器以盐酸和氯酸钠为原料,采用负压曝气工艺,生产以二氧化氯为主,氯气为铺的复合消毒液,工业盐酸应符合国家标准《GB320--93工业合成盐酸》的要求。氯酸钠应符合《GB1618--1995工业用氯酸钠》的要求。

mmexport1499846245566.jpg

三、医疗污水处理一体化设备优势:

  1.实用性广: 可适应各类医疗机构的废水处理;

  2.一体化:“一站式”一体化设计,外形美观、占地面积小;

  3.安全性能好:漏水漏电自动保护功能、高低压自动保护功能、无废水保护功能、储液罐液位保护功能;

  4.自动化: PLC智能控制系统,人机界面操作系统, LCD液晶显示中文显示、具人机对话功能,时钟和语言设定功能,开机时设备电控系统自动检测,全自动处理废水、针对不同废水的成分和浓度,控制系统自动进行计算然后按比例进行自动投放药品,更加科学化和合理化;

  5.远程监控及操作功能:只需在办公室或中控室通过远程控制软件对废水处理间里的废水处理设备进行远程监控、运行操作和远程管理,随时了解设备的运行情况和运行状态。

mmexport1499846164863.jpg

mmexport1559222587339_副本.jpg


医疗污水处理一体化设备 2020-6-16 本文被阅读 1031 次
< a href=" ">在线客服